14
2018-08
发布者: 浏览次数: 次
包层功率剥离器

上海瀚宇的包层功率剥离器(Cladding Power Stripper)具有独特的光学性能。这种器件能够吸收在双包层光纤中内包层部分传输的光。双包层光纤中大数值孔径(≥0.46)的内包层和小数值孔径(可达0.06)纤芯形成的光波导传输的光都可以被包层功率剥离器“吸收”。而在纤芯中传输的信号光能够被很好的保持,包括信号光功率和光束质量因子(M2)。
上海瀚宇的包层功率剥离器(Cladding Power
Stripper)是双包层光纤激光器/光纤放大器中用于去除包层残留泵浦光,从纤芯泄漏到内包层中传输的ASE光以及高阶模式信号光的理想器件。上海瀚宇还可以根据客户要求定制不同光纤类型的产品,如果您有特定的要求,请与我们联系。
产品特点
• 高功率承受能力
主要测试设备
|
测试设备 |
设备型号/参数 |
|
多模泵浦光源 |
915nm 65W ,输出光纤:Nufern MM-S105/125-22A |
|
7*1泵浦合束器 |
输入端泵浦光纤:Nufern MM-S105/125-22A 输出端信号光纤:Nufern LMA-GDF-20/400-M |
|
功率计 |
Ophir F150A |
|
测温仪 |
FLIR E40 |
|
水冷板 |
内部设计冷却水通道,设定水温20℃ |
|
CPS |
光纤型号:Nufern LMA-GDF-20/400-M |
主要测试方法
1.将LD尾纤与合束器入端光纤熔接,使用功率计测量并记录合束器输出功率随LD电流变化的 数据。
2.将合束器出端光纤与CPS入端光纤熔接。
3.将CPS底部均匀涂满适量导热硅脂,然后使用4颗M3螺钉将CPS固定在水冷板上。
4.使用功率计测量CPS输出功率随LD电流变化的数据。使用热像仪测量CPS外壳的最高温度。
测试结果
|
合束器尾纤输出功率W) |
50 |
100 |
150 |
200 |
|
CPS尾纤输出功率(W) |
0.95 |
1.80 |
2.65 |
3.55 |
|
包层光剥离效率(%) |
98.1 |
98.2 |
98.2 |
98.2 |
|
CPS冷面温度(℃) |
20 |
20 |
20 |
20 |
|
CPS最高温度(℃) |
27.3 |
34.9 |
42.1 |
50.3 |
|
CPS最大温升系数(℃/W) |
0.146 |
0.149 |
0.147 |
0.151 |
|
温度分布照片 |
图1 |
图2 |
图3 |
图4 |
图1:输入50W泵浦光时,剥离器温度分布 图2:输入100W泵浦光时,剥离器温度分布
图3:输入150W泵浦光时,剥离器温度分布 图4:输入200W泵浦光时,剥离器温度分布
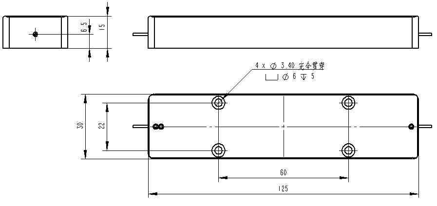
封装尺寸
高功率CPS外形及安装尺寸(最大剥离功率200W) 中功率CPS外形及安装尺寸(最大剥离功率50W)
温馨小贴士
1.包层光剥离器不具备存储较高功率的能力。请安装在主动冷却的冷板上,并使用导热材料填充剥离器和冷板之间的缝隙,以减少热阻。
2.包层光剥离器有一定的方向性,请按产品标识中的方向使用。
3.包层光剥离器内部的光纤经过特殊处理,切勿碰撞。
- 相关资讯